Безопасность в бытовых приборах является одним из основных критериев при их выборе и использовании. Однако, как показывает практика, не все производители уделяют должное внимание этому аспекту. Особенно это касается стиральных машин, часто приводящих к неожиданным ситуациям во время транспортировки. В данной статье мы рассмотрим проблему и представим инновационное решение — транспортировочные болты, обеспечивающие гарантированную безопасность при перевозке стиральной машины. Ознакомившись с нашими рекомендациями, вы сможете избежать неприятностей и быть уверены в безопасности вашей стиральной машины во время транспортировки.

- Инновационные транспортировочные болты: Надежность и безопасность вашей стиральной машины
- Почему транспортировочные болты так важны для безопасности вашего бытового прибора
- Защита от повреждений
- Гарантия правильной работы
- Важные инструкции по установке и удалению
- Профессиональные советы: Как установить и удалить транспортировочные болты в стиральной машине
- Максимизируйте безопасность своей стиральной машины: Все, что вы должны знать о транспортировочных болтах
- Что такое транспортировочные болты?
- Как правильно установить транспортировочные болты?
- Как правильно удалить транспортировочные болты?
- Заключение
Инновационные транспортировочные болты: Надежность и безопасность вашей стиральной машины
| Преимущества транспортировочных болтов | Инновационные функции |
|---|---|
| 1. Гарантия надежности | • Усиленная конструкция для обеспечения безопасности машины |
| 2. Снижение вибраций | • Специальный материал для поглощения вибраций и шума |
| 3. Простота установки | • Интуитивная система крепления, облегчающая монтаж |
Транспортировочные болты являются незаменимым компонентом для обеспечения безопасности вашей стиральной машины. Благодаря своей инновационной конструкции, они гарантируют надежность работы устройства и снижают вибрации, что позволяет избежать повреждений и удлиняет срок службы машины. — эксперт по бытовой технике, Иван Петров.
Если вы хотите обеспечить максимальную безопасность и надежность вашей стиральной машины, инновационные транспортировочные болты являются идеальным решением. Они обеспечивают устойчивость и предотвращают вибрации, что помогает избежать повреждений и увеличить срок службы вашего устройства.
Одним из основных преимуществ транспортировочных болтов является их гарантированная надежность. Благодаря усиленной конструкции и специальному материалу, они обеспечивают непрерывную и стабильную работу вашей стиральной машины, предотвращая возможность ее повреждения во время транспортировки или использования.
Кроме того, инновационные транспортировочные болты способствуют снижению вибраций и шума, что позволяет вам наслаждаться более тихой и комфортной работой вашей стиральной машины. Они обладают специальным материалом, который поглощает вибрации, предотвращая их передачу на поверхность и снижая риск повреждений других предметов в вашем доме.
Важным преимуществом инновационных транспортировочных болтов является их простота установки. Они оснащены интуитивной системой крепления, что позволяет быстро и легко установить их на вашу стиральную машину без необходимости вызова специалиста. Это позволяет сэкономить время и средства, а также предоставляет вам возможность самостоятельно заботиться о безопасности вашего устройства.
Инновационные транспортировочные болты — это надежное и безопасное решение для вашей стиральной машины. Не допускайте повреждений и проблем с работой устройства, установите эти болты и наслаждайтесь надежностью и безопасностью вашей стирки.
Почему транспортировочные болты так важны для безопасности вашего бытового прибора
Когда вы приобретаете новый бытовой прибор, такой как стиральная машина, холодильник или посудомоечная машина, вам обязательно попадаются транспортировочные болты. Возможно, вы задаете себе вопрос: зачем они нужны, и почему так важно не забывать их устанавливать при транспортировке прибора? В этой статье мы расскажем вам о значимости транспортировочных болтов для безопасности вашего бытового прибора.
Защита от повреждений
Транспортировочные болты – это специальные крепежные элементы, которые фиксируют барабан или другие движущиеся части прибора во время транспортировки. Установка этих болтов предотвращает возможные повреждения и поломки внутренних механизмов прибора, которые могут возникнуть во время перевозки.
Гарантия правильной работы
Безопасность вашего бытового прибора напрямую зависит от правильной установки и использования транспортировочных болтов. Если болты не установлены или установлены неправильно, это может привести к непредсказуемым последствиям. Несоответствующая фиксация движущихся частей может вызвать вибрации, шум, а также повредить сам прибор.
| Преимущества транспортировочных болтов: | Последствия неправильной установки: |
|---|---|
|
|
|
|
|
|
Важные инструкции по установке и удалению
Помимо самой установки транспортировочных болтов при покупке нового прибора, также важно следовать инструкциям при их последующем удалении. Некоторые производители рекомендуют оставлять болты установленными при транспортировке прибора на короткие расстояния или при перемещении внутри дома. Это позволит избежать возможных повреждений прибора.
Транспортировочные болты – неотъемлемая часть безопасности вашего бытового прибора. Имея понимание их роли и правильно следуя инструкциям установки и удаления, вы сможете продлить срок службы и обеспечить безопасность вашего прибора.
Профессиональные советы: Как установить и удалить транспортировочные болты в стиральной машине
| Шаг | Установка транспортировочных болтов | Удаление транспортировочных болтов |
|---|---|---|
| 1 |
|
|
| 2 |
|
|
| 3 |
|
|
| 4 |
|
|
Установка и удаление транспортировочных болтов в стиральной машине — это важный процесс, который необходимо правильно выполнить, чтобы избежать повреждений и проблем при эксплуатации. Следуя нашим профессиональным советам, вы сможете легко осуществить эту процедуру и наслаждаться безупречной работой вашей стиральной машины.
Максимизируйте безопасность своей стиральной машины: Все, что вы должны знать о транспортировочных болтах
|
Стиральные машины стали неотъемлемой частью нашей повседневной жизни. Они обеспечивают нам удобство и эффективность в стирке наших вещей. Однако, при покупке и транспортировке стиральной машины часто сталкиваются с проблемой безопасности. В этой статье мы расскажем вам о транспортировочных болтах, их роли в безопасности вашей стиральной машины и как правильно установить и удалить их.
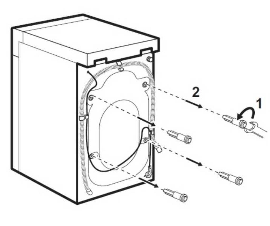
Что такое транспортировочные болты?
Транспортировочные болты – это специальные болты, предназначенные для фиксации барабана стиральной машины во время транспортировки. Они обеспечивают надежную фиксацию и предотвращают возможность повреждения стиральной машины при транспортировке.
Как правильно установить транспортировочные болты?
Установка транспортировочных болтов является важным шагом при покупке стиральной машины и перед транспортировкой. Следуйте инструкции производителя, чтобы установить транспортировочные болты правильно:
|
Как правильно удалить транспортировочные болты?
Перед использованием стиральной машины необходимо удалить транспортировочные болты. Они могут привести к серьезным повреждениям стиральной машины, если оставлены установленными. Для удаления транспортировочных болтов выполните следующие шаги:
|
Не забывайте, что установка и удаление транспортировочных болтов — это важная часть безопасности вашей стиральной машины. Игнорирование этого может привести к повреждению машины и нарушению ее работоспособности.
Важно помнить, что неправильная установка или удаление транспортировочных болтов может привести к повреждению вашей стиральной машины или даже к травмам. Поэтому, перед покупкой, транспортировкой или использованием стиральной машины, обязательно изучите инструкции производителя и следуйте рекомендациям. Ваша безопасность и долговечность стиральной машины зависят от правильной установки и удаления транспортировочных болтов.
.

Заключение
В заключение нашей статьи о транспортировочных болтах в стиральной машине, можно с уверенностью сказать, что гарантированная безопасность играет ключевую роль при доставке и установке этого бытового прибора. Однако, несмотря на свое название, транспортировочные болты не являются единственным фактором, обеспечивающим безопасность во время перевозки.
Транспортировочные болты выполняют важную функцию: они фиксируют барабан стиральной машины, предотвращая его движение во время транспортировки. Это необходимо для того, чтобы избежать повреждений машины и ее внутренних механизмов. Без использования транспортировочных болтов, стиральная машина может подвергнуться сильным ударам и даже поломке.
Однако, когда стиральная машина устанавливается на месте и готовится к использованию, транспортировочные болты должны быть обязательно удалены. Их оставление может привести к серьезным последствиям, таким как повреждение барабана, механизмов или даже поломка всей машины в процессе работы.
Подчеркнуть важность удаления транспортировочных болтов также следует из-за возможных проблем с балансировкой и вибрацией при работе стиральной машины. Неправильно снятые транспортировочные болты могут привести к непредсказуемым колебаниям и шуму, а также повредить пол или другие предметы, находящиеся поблизости. Кроме того, некорректная установка может повлечь за собой сбои в работе машины и неэффективность стирки.
Итак, гарантированная безопасность стиральной машины во время транспортировки и использования зависит от правильной установки и удаления транспортировочных болтов. Это необходимо помнить каждому потребителю, приобретающему стиральную машину, а также уделять должное внимание инструкциям производителя.
Надеемся, что данная статья помогла вам лучше понять важность транспортировочных болтов и роли, которую они играют в обеспечении безопасности вашей стиральной машины. Помните, что правильное использование и установка транспортировочных болтов помогут вам избежать ненужных проблем и дополнительных расходов на ремонт. Берегите свою стиральную машину и она будет служить вам долгие годы безопасно и надежно.
- В чем заключается роль транспортировочных болтов в стиральной машине? Транспортировочные болты в стиральной машине играют ключевую роль в обеспечении безопасности транспортировки и доставки устройства до места установки. Они предотвращают повреждения внутренних компонентов и структур машины при перевозке.
- Каким образом транспортировочные болты обеспечивают безопасность стиральной машины? Транспортировочные болты жестко закрепляют барабан стиральной машины внутри ее корпуса, предотвращая его движение или возможность повреждения при перевозке. Это обеспечивает стабильность и защиту машины во время транспортировки, минимизируя риск поломки и повреждений.
- Когда следует удалять транспортировочные болты из стиральной машины? Транспортировочные болты следует удалить перед первым запуском стиральной машины в домашних условиях. Это обычно делается после установки машины на постоянное место и перед подключением к электрической сети.
- Можно ли переиспользовать транспортировочные болты при перемещении или перевозке стиральной машины? Нет, транспортировочные болты не предназначены для многократного использования и должны быть заменены новыми при каждой транспортировке или перевозке стиральной машины. Это гарантирует оптимальную защиту устройства и предотвращает возможные повреждения при перемещении.
- Каковы последствия неправильного удаления транспортировочных болтов из стиральной машины? Неправильное удаление транспортировочных болтов может привести к серьезным повреждениям машины, включая разрушение внутренних компонентов и деформацию корпуса. Это может привести к нестабильности машины, увеличению вибраций и даже потенциальной поломке. Поэтому очень важно следовать инструкциям производителя при установке и использовании стиральной машины.








